Z6S40Y型、DN300、PN25阀门设计毕业论文
2020-06-21 19:51:04
摘 要
阀门是一种控制管道流体传输的工业元件,它可以通过各种方式变动通道内断面和液态介质流动方向。现在阀门无论在-269℃的低温环境亦或是1400℃的红温环境都可工作,可承受压力无论在0. 013MPa的无压环境又或者是1000MPa的重压环境都可找到适用阀门,阀门现在几乎可控制各种液态介质的流动。阀门的的控制方式也从传统的气动、手动和电动慢慢变化出诸如磁力驱动、风动甚至是液动等;同时电动和磁力驱动等阀门的自动化也越来越先进,他们可以在外界压力和温度变化后发出信号告知应该关闭还是开启,有些先进阀门甚至能做到在外界环境变化后自我调节和改变其管道面积,从而实现自我控制流体流动的作用。
阀门设计有很多方面需要考虑,比如阀体的设计与计算、闸板的结构尺寸确定和强度校核计算、阀杆的主要尺寸确定和其他主要零件的设计与校核。本设计设计目的是为了设计一款符合DN300 PN250要求的闸阀,初衷是为了让设计学生了解手动带气动闸阀的设计特点以及对设计过程有个自我体验的过程。
关键词:设计环境 阀门设计 楔式闸阀
Abstract
The valve is the control element in the pipeline fluid transmission system. It can be used to change the direction of the pipe section and the flow direction of the fluid. The function is diversion, cut-off, regulation, throttling, stop, shunt or pressure relief. Valve operating temperature from -269 ℃ ultra-low temperature to 1400 ℃ high temperature, the valve working pressure from 0. 013MPa to 1000MPa of ultra-high pressure, the valve can be used to control water, gas, mud, steam, oil, radioactive fluid and other Type of fluid and the flow of various corrosive fluids.Valve control has a variety of transmission methods, such as pneumatic, manual, electric, electromagnetic, electric - hydraulic, electromagnetic - hydraulic, etc .; can be pressure, temperature or other forms of sensor signals,According to the intended requirements of action, or do not rely on the sensor signal for a simple open or closed, the valve by the drive or automatic mechanism to make the opening and closing parts to do lifting, sliding, swing or swing movement, thus changing the size of its flow area To achieve its control function.
The design is based on the wedge elastic single gate gate valve for the design object, mainly introduced the characteristics of the manual with pneumatic conversion device and gate valve structure, and its working principle. Valve design has many aspects to consider, such as the design and calculation of the valve body, the gate size of the structure to determine and strength check calculation, the main stem to determine the size and strength of the main parts of the check and design and verification.
Keywords: the hand pneumatic change seal dyadic valve of wedge elasticity brake board
目 录
摘 要 I
Abstract II
第一章 绪 论 1
1.1 选题意义 1
1.2 国内外阀门的发展 1
1.2.1 国外阀门的发展 1
1.2.2 国内阀门的发展 2
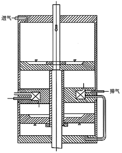
第二章 楔式闸阀的运行原理和设计特点 3
2.1 工作原理 3
2.2 结构设计特点 4
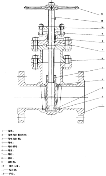
第三章 阀门的设计与计算 6
3.1 阀体的设计与计算 6
3.1.1 阀体的功能 6
3.1.2 阀体的选材 6
3.1.3 阀体的结构形式和制造方法 6
3.1.4 结构设计与计算 7
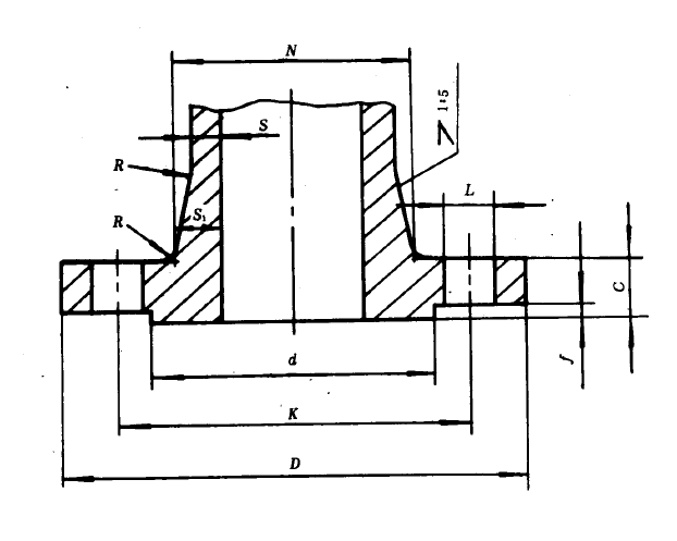
3.1.5 结构长度计算和连接尺寸确定 8
3.1.6 阀体壁厚的设计与计算 9
3.1.7 中法兰的设计与计算 10
3.2 闸板的设计与计算 13
3.2.1 闸板密封面宽度和内径的选取 13
3.2.2 闸板与阀体档宽及相应公差的计算 13
3.2.3 闸板主要结构尺寸的确定 14
3.2.4 闸板密封面比压计算 15
3.2.5 闸板强度的校核 15
3.3 阀杆的设计与计算 15
3.3.1阀杆总轴向力 15
3.3.2 阀杆的直径估算 16
3.3.3 阀杆的强度校核 17
3.3.4阀杆的稳定性校核 18
3.3.5 阀杆主要尺寸的确定 19
3.4阀盖及填料装置的设计与计算 20
3.4.1阀盖的设计与计算 20
3.4.2 填料压盖的设计与计算 20
3.4.3 上密封座尺寸 24
3.5 气缸的设计与计算 24
3.5.1气缸的直径粗估算与选取 24
3.5.2 气缸的校核 24
3.6 其他主要零件的设计与校核 25
3.6.1 滚动轴承的选取 25
3.6.2 阀杆螺母的校核 26
3.6.3 上活塞接头以及螺栓的校核 27
3.7经济计算 27
第四章 结论与展望 29
结论 29
展望 29
参考文献 30
致谢 31
第一章 绪 论
1.1 选题意义
自八十年代改革开放后,在短短三十年快速发展中,阀门涉足领域从单纯的工业领域已经渗透到了各行各业中。从普通的工厂用管道发展到了污水处理和水力发电,从煤矿产业发展到了清洁、食品、医疗等生活用管道领域。闸阀的设计也越来越趋于向便捷、轻盈的方向发展,比如最新的薄型闸阀就以其轻盈、便捷、流阻小、易安装等优点攻克了传统阀门的体型大、笨重、流阻大、不易安装等造成的疑难问题。[1]
随着机电行业的发展,以及自动化技术和电子技术的发展,这些传统电动阀门在日新月异的时代背景下也渐渐产生了诸多问题。比如故障诊断方法不完善、无法精确控制以及不能在特殊环境下持续效率工作等,这就使得传统电动阀门若不跟上时代的变化必将被淹没在时代的洪流中。因此使设计的电动阀门做到精确控制、易诊断出故障问题并且能在特殊环境下持续工作是当代设计人员必须面对的问题。[2]
目前国内外对如何提高阀门寿命和使用性能都做了大量投资和实验。研究方向主要可归纳为对某特定阀门进行性能检验的研究和以理论作为依据去判断怎样会引起故障进行研究。这其中以理论作为依据去判断怎样会引起故障的研究是这两者中的重点和难点。
相关图片展示:







课题毕业论文、开题报告、任务书、外文翻译、程序设计、图纸设计等资料可联系客服协助查找。
