年产260万吨低合金钢小方坯全连铸转炉车间设计毕业论文
2020-06-30 21:12:25
摘 要
本课题的任务是设计年产260万吨低合金钢小方坯全连铸转炉车间,在设计中加入了铁水预处理,氧气顶吹,转炉吹炼自动控制等新工艺。
产品为Q390C,是一种低合金高强度结构钢。生产步骤是铁水通过预处理,再进入转炉初炼,得到的钢水再进去LF炉精炼,最后提纯脱气得到高质量的Q390。Q390是一种常用钢,在建筑施工工地、道路桥梁、储存铁罐、生活用品中应用广泛,上海及其周边市场的需求量大,所以在上海建厂。
关键词:Q390 转炉炼钢 车间设计 精炼
Design an annual output of 2.6 million tons of low-alloy steel billet full continuous casting converter workshop
Abstract
The task of this project is to design an annual output of 2.6 million tons of low-alloy steel billet full continuous casting converter workshop. .In the design, new processes such as hot metal pretreatment, oxygen top blowing, and converter blowing automatic control were added.
The product is Q390C, a low alloy steel. The production process is through the pretreatment of hot metal, and then enter the first refining of the converter. The obtained molten steel is then refined in the LF furnace. Finally, the degassing to obtain high-quality Q390. Q390 is a commonly used steel, widely used in construction sites, roads, bridges, storage cans, and household items. Shanghai and its surrounding markets have a large demand, so they set up factories in Shanghai.
Key Words: Q390 converter steelmaking workshop design refining
目录
第一章 炼钢厂设计概论 3
1.1. 钢铁行业现状 3
1.2. 转炉冶炼的现状及趋势 5
1.3. 转炉新工艺 5
第二章 厂址选择 7
2.1 建厂条件 7
2.2 产品市场 7
第三章 转炉车间生产工艺流程 8
3.1 初始条件 8
3.2 生产工艺步骤图 8
第四章 供应方案 9
4.1 原料 9
第五章 确定转炉座数及公称容量 11
5.1. 产品大纲 11
5.2. 金属料平衡计算 11
5.3. 转炉座数 11
5.4. 转炉炉数和公称容量计算 12
第六章 转炉炉型设计与参数计算 13
6.1. 炉型设计 13
6.2. 炉衬 15
6.3. 金属构件 15
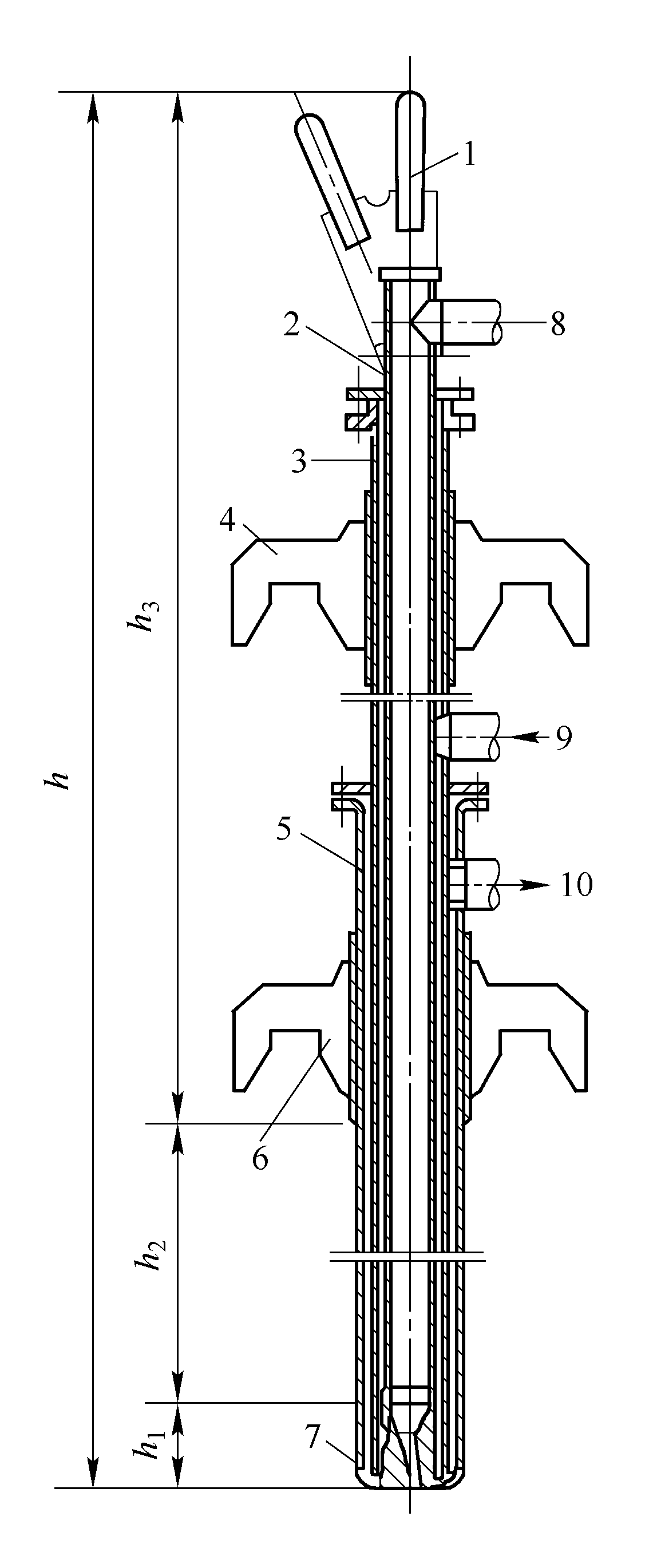
第七章 氧枪计算 17
7.1 喷头 17
7.2 枪身尺寸 18
第八章 炉外精炼设计 20
8.1 炉外精炼的功能 20
8.2 LF精炼炉 20
第九章 连铸设备选型及相关参数确定 21
9.1 连铸机机型选择 21
9.2 连铸机主要参数的确定 21
9.3 产能计算 21
9.4 连铸操作规程 23
第十章 转炉车间平面布置设计 29
10.1. 车间工艺布置方案 29
10.3. 连铸各跨布置 30
10.4 装料跨 32
第十一章 操作规程 33
11.1 基本检测 33
11.2 精料 33
11.3 操作参数 34
11.4 装入制度 35
11.5 供氧制度 36
11.6 造渣制度 36
11.7 终点控制与出钢 37
11.8 脱氧与合金化 37
参考文献 39
致谢: 41
第一章 炼钢厂设计概论
- 钢铁行业现状
钢铁行业对国家发展影响很大[1],然而,我国钢铁行业内部存在着不可忽视的严重问题。
1.产能过剩
2.产业分布不合理
3.钢铁技术不怎么先进
4.铁矿石多靠进口

图1-1中国粗钢产量及增速

图1-2 中国粗钢产量全球占比走势
近几十年来,我国钢铁产量大幅增加。截止2016年,粗钢产量达到8亿吨,世界占比9%,比1990年高出7.4亿吨。钢铁行业飞速发展。
近几年来,钢材需求阶段性上升,库存同比有降低。但在中国经济持续
6.5%-7%的中高增速情况下,房地产投资对钢铁行业回温有一定的推动作用,但由于房地产泡沫的存在,钢铁行业需求很难持续提升。
焦炭价格表现上下正余弦波动趋势,铁矿石方面,品味对价格的影响较大。影响焦炭价格波动主要因素是钢厂需求波动,其价格高点受钢材价格影响明,价格低点利润为负。
- 转炉冶炼的现状及趋势
转炉冶炼趋势[2]:
相关图片展示:







课题毕业论文、开题报告、任务书、外文翻译、程序设计、图纸设计等资料可联系客服协助查找。
