中小尺寸显示器跌落试验机的结构设计毕业论文
2020-04-08 13:22:56
摘 要
随着各类电子产品在生活中的日趋普及,其在装卸,运输及使用过程的抗冲击性能也愈来愈受到终端消费者的关注。产品抗冲击能力成为其设计过程中可靠性验证的一个重要指标,同时也是设计者需要考虑的重要因素。在实验室中模拟跌落可靠性试验时,使用频率最高的仪器设备称为自由跌落试验机。因此,本文在阐述产品自由跌落试验的意义与必要性的基础上进行了如下三项工作:首先,从理论上分析并计算产品自由跌落的实际过程;其次,针对这项实验使用SolidWorks和AutoCAD进行建模,设计出实验所需的跌落试验机理论模型;最后,从设备选型,结构设计两个方面,对所设计的跌落试验机进行具体介绍分析。本文所设计的试验机使用了气动控制,通过缸收缩带动跌落板,可以瞬间使试样自由落体,跌落至地面,并可根据实际需要自由选择跌落高度,对产品进行角、棱、面三个类别的跌落冲击试验。
关键词: 跌落试验机 可靠性 结构设计 零件选型
Abstract
With the increasing popularity of various kinds of electronic products ,their shock resistance performance in loading, unloading, transportation and using has attracted more and more attention from end consumers.The anti-impact capability of products has become an important index of reliability verification in the design process, and it is also an important factor for designers to consider. The instrument called free falling tester is used the most frequently when we simulate the reliability test of falling in the laboratory .Therefore, in this paper,I mainly do the following three tasks on the basis of the significance and necessity of the product to free drop test: firstly, calculating the actual process of free falling product from theory analysis;Secondly, using SolidWorks and AutoCAD to create the model, and introducing the theoretical model of drop tester required by the experiment was designed.Finally, introducing the fall testing machine in detail from the following two aspects: equipment selection and structure designing.In this paper, the designed tester is controled by pneumatic. It can instantly make sample free fall to the ground through the plate cylinder contraction drive . Users can choose free drop height according to actual needs and anglesto test the products from angle,arris, plane.
Keywords: free falling tester reliability structure design selection of parts
目录
摘 要 Ⅰ
Abstract Ⅱ
第1章 绪论 3
1.1 引言 3
1.2 研究背景及意义 3
1.3 跌落试验机的发展及研究现状 3
1.4 研究的内容及拟解决的关键问题 4
第2章 产品自由跌落理论分析 5
第3章 总体方案设计 7
3.1 功能分析 7
3.2 设计方案的比较与选择 7
3.3 产品装配体展示 8
第4章 主要零部件选型 9
4.1 滚珠丝杠副 9
4.2伺服电机 11
4.3高强度气缸 13
4.4轴承 14
第5章 详细设计与实现 15
5.1装配体总体 15
5.2升降机构设计 16
5.3跌落机构设计 17
5.4机身支架设计 19
5.5定位机构设计 20
5.6人机界面及控制箱 22
第6章 改进构想 23
6.1用横向冲击代替垂直跌落 23
6.2建立有限元模型进行跌落仿真 23
第7章 总结与展望 24
7.1 总结 24
7.2 展望 24
参考文献 25
致谢 26
第1章 绪论
1.1 引言
在使用寿命周期内,许多中小型电子产品常见的失效模式就是跌落冲击,产品发生跌落,轻则造成外形形变损伤,丧失美观,重则造成产品内在功能失效【1】。随着国内外对该类商品需求的不断增长,对产品包装的要求也越来越严格,使用跌落试验机把带包装的产品从一定高度跌落地面是检查产品及包装质量的一项重要指标,经过不同角度不同位置的多次试验,检查产品性能是否受到影响,外观是否受到损坏。这项指标一般作为产品包装是否符合标准的重要依据。试验机工作的主要过程是将带包装的商品箱体自动提升到规定高度,然后让箱体按规定的角度,规定的次数自由跌落至地面,以达到跌落可靠性试验的试验目的【2】。
1.2 研究背景及意义
近年来,电子技术、计算机技术、信息技术、在全球范围内发展十分迅速,各种电子产品在国内外迅速普遍,这些包括了各种类别的手机,平板,笔记本电脑,电视机等各种显示器。然而,运输过程中,产品发生意外跌落撞击到地面或不慎碰撞到其他物体上的问题常有发生。跌落冲击发生时,物体的运动状态急剧变化,它的动量会在极短时间内进行迅速传递,在这整个过程中,会伴随并产生极大的力。和其它形式的冲击相比,造成最强烈冲击的便是产品的意外跌落,这也是各类机电和电子产品失效的常见原因【3】。各类产品在运输流通中都会由生产者运送到消费者,过程中,大多是通过合理设计缓冲包装结构,来避免出现跌落冲击损坏。在此类行业中,一般需要产品通过一些通用的标准测试,以此来确保该电子产品的抗冲击性可以达到规定要求。这方面适用的标准国内外有很多,其中包括GB/T9384-2011,GB/T4857.5-1992,ISTA 3A和ISTA 3B等,同样的对于试样跌落试验检验最常使用到的设备-跌落试验机的稳定性,精确性也提出了更高的要求。
1.3 跌落试验机的发展及研究现状
自由跌落试验经过30多年的发展, 目前,已经由原来的使用人力来控制高度与自由跌落的试验方式发展到现在的通过标准机械来进行的半自动化试验。进行该项试验,现阶段在工业上使用最多的就是是价格较低、结构简单的第二代摆臂式跌落试验机,主要使用单片机控制【4】。而实验室中使用了与跌落试验台比较相似的装置:把试样悬挂在实验台上,两者同时释放,共同落下,在试样即将撞击到地面前,使二者分离,在实验台刚好停止运动时,试样撞击到所设实验台上,因为这个过程发生较为短暂,试样冲击姿态可以保持在原始状态,通过这样来控制跌落的姿态。还有一种试验机使用自制夹具把试样固定在一个特定的方位,夹具能够转动并且固定在滑块上,滑块与导轨相连。跌落试验开始时,夹具和滑块连接并与样品同时落下,撞击到地面之前,通过电磁开关打开夹具并释放样品,使之脱离并跌落。但是这种情况中,由于试样跌落到撞击平面时,发生旋转与反弹,造成多次碰撞,以致实验结果的不准确【5】。
1.4 研究的内容及拟解决的关键问题
具有优秀机械结构的跌落试验机可以根据需要,根据各种要求准确进行试验。通过可靠性试验模拟产品在运输过程中受到的各种不同的外力冲击,而且还要能够在试验过程中保持传动运行的稳定性、可靠性、安全性,要能减省能源消耗,减少部件间的磨损,有较长的使用寿命;而优秀的控制系统,,则能对跌落试验机进行实时监控,提高试验的精确度、准确性,稳定性【3】。
本文为满足产品自由跌落试验要求,从功能分析,设备选型及结构上设计了一种跌落试验机,通过人机界面配合PLC控制整个自动机,人机界面触摸屏使操作界面更加生动、方便。控制系统采用人机界面和PLC实现,PLC是处理和监控系统的核心部分。
跌落试验机设计过程中关键问题在于:
- 跌落部分的结构设计,如何才能完成正常的跌落过程,通过什么推动跌落平台的旋转,动力器件选择什么。
- 设计传动系统,如何设计合理的传动路线及传动方式,选用何种电机,如何能保证跌落高度的准确性和可控性。
- 夹具部分的设计,夹具要能准确稳定的固定产品,要能准确进行角度位置调整,满足“角、棱、面”的跌落。
- 跌落机机身支架的设计,设计稳定可靠的支架,在保证小体积状态下,能够进行整体的支撑,跌落过程中不会发生移动倾斜和较大的变形。
- 各种附件的设计,尽可能减少不必要的噪声和冲击,保证传动的稳定性,冲击过程中周围环境的安全性等等。
第2章 产品自由跌落理论分析
传统的自由跌落理论简要分析:图2-1a为包装件示意图,它主要有三部分组成,包括:作为外包装的纸箱、缓冲介质以及产品,将其简化为单自由度的力学模型如图2-1b所示【8】。我们把产品简化为质量是
的均质物体,本次设计中,我们使用某种线性弹簧(假定弹性系数为
),所模拟的落下高度是
,弹簧的线性压缩量记为
。产品做跌落冲击受压变形最大值记为
,不考虑弹簧重力势能的变化,由能量守恒定律可以得知,产品重力势能全部转化为弹簧的弹性势能,于是有:
(2.1)
其中
是产品跌落过程中受到的瞬时力;是产品整个跌落过程中总竖直位移量,此处忽略掉较小值,取为
。再因为代入上式积分得:



于是有:

再根据牛顿第二定律,
,通过上式可推出加速度;
(2-2)
令
,则:
(2-3)
由于
,故
,所以式2-3表示带包装的产品跌落时受到冲击所产生的加速度是重力加速度的G倍。

图2.1 带包装产品跌落模型
产品自由落下时产品受到撞击产生的力与其重量
有如下关系:
(2.4)
可以看出,当产品所受到撞击所产生的力
超过产品所允许的极限时,产品便有很大可能发生损坏。故而,
是表示内装产品抵抗损坏能力的唯一有效参数。它的大小和外部测试环境无关,主要是由内装物的材料性能与结构特征决定的。
当然,产品在实际运输流转过程中,带包装的产品的自由跌落情况远比我们所假想的模型复杂许多,我们这里只对模型做简要分析。
第3章 总体方案设计
3.1 功能分析
为了模拟包装物的自由落体,故而设计了垂直跌落冲击试验,先把试样提高到规定高度,然后瞬间释放,保证试样能够自由跌落到刚性地面上【9】。为了能给产品的包装结构设计、包装缓冲材料的选择提供足够依据,以便更好地改进与完善包装,我们通过进行多次自由跌落试验观察相对脆弱的位置是否受到损坏,以此来评定产品包装保护能力是否达到要求。
本文设计的跌落试验机需要完成以下三个部分的功能:
(1)完成跌落板升降的直线运动,控制相应零部件使跌落板可以自由升降到规定的高度,以此完成跌落任务。
(2)完成跌落板的释放运动,包装件固定在跌落板上,当跌落板上升到一定的高度后,控制其进行某种运动,使得包装件可以从这一规定高度自由地跌落撞击到地面上。
(3)设计相应夹具,要能准确稳定的固定产品,保证产品在跌落时不会发生相对滑动,而且夹具要能根据实际需求改变包装件的跌落姿态,做到“跌角、跌棱、跌面”的要求。
3.2 设计方案的比较与选择
3.2.1 单翼跌落与双翼跌落的比较

单翼跌落试验机 双翼跌落试验机
图3.1
如图3.1所示 单翼跌落与双翼跌落试验机,单翼跌落试验机只有一个摆臂,可以跌落较大尺寸和小尺寸产品,跌落时,因为只有一个摆臂,所以产生跌落偏差的可能较小。双翼跌落试验机有两个摆臂,可以通过两个气缸或电机来带动旋转,两者运动速度可能存在微小差异,故跌落时,会产生角度偏差。另外由于跌落板尺寸限制,双翼跌落试验机只能跌落小尺寸产品,存在一定局限性。故本文试验机主要设计单臂形式的。
3.2.2 跌落板释放位置的比较
图3.2 带沟槽跌落机示意图
这种设计试件放在跌落板上,跌落信号释放后,跌落板连同试件一起向下运动,跌落板可直接落入基座的沟槽中,试件则撞击跌落基座,完成跌落过程,如图3.2。这种方式提供了左右无限制的碰撞面,跌落的高度量程下极限也达到了零。不过这种跌落方式中,跌落过程中要求跌落板运动下降速度超过试件,同时跌落板停止位置要很精确的与碰撞面贴合,不容易实现。 这种跌落过方式违背了跌落实验国家标准中的“冲击面为整块物体” 这一条。故本文试验机不采用这种方式,而是采用了单臂跌落,直接跌落在整块钢板上的方式。
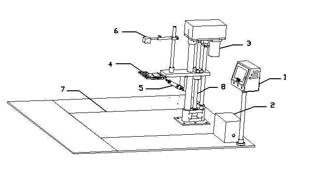
3.3 产品装配体展示
图3.3 产品装配体总体
第4章 主要零部件选型
4.1 滚珠丝杠副
滚珠丝杠副主要用来完成旋转运动和直线运动间的相互转换,它运动平稳,传动精度、传动效率比较高,而且有较高的轴向刚度、摩擦力矩较小,不易磨损,故而其使用寿命较长。
4.1.1使用条件,负载,速度,最大行程,位置精度,寿命
使用条件 | 包装件产品的升降 |
负载 | 150KG |
速度 | 0.2m/s |
最大行程 | 1500mm |
位置精度 | ±6mm/300mm |
寿命 | 10000h |
4.1.2类型
P4类
4.1.3滚珠丝杆副的导程
导程:
(4.1)
式中,
表示机床工作台运动最快进给速度,单位mm/min;
表示使用的驱动电动机最高速,单位r/min;
。
以上是毕业论文大纲或资料介绍,该课题完整毕业论文、开题报告、任务书、程序设计、图纸设计等资料请添加微信获取,微信号:bysjorg。
相关图片展示:







课题毕业论文、开题报告、任务书、外文翻译、程序设计、图纸设计等资料可联系客服协助查找。
