MQ4040单臂架门座起重机回转机构CADCAE毕业论文
2020-04-11 17:37:12
摘 要
近几年来,随着物流行业的迅猛发展,港口产业也日益壮大。门座式起重机作为一种高效率的起重运输机械在港口被广泛使用。回转机构是门座起重机的主要工作机构之一。回转机构对于起重机的整体性能有决定性的影响。因此,对门座起重机回转机构的研发设计做进一步探讨有非常重要的现实意义。
本文设计以MQ4040单臂架门座起重机为研究对象,使用SolidWorks及Adams软件对其进行总体设计以及回转机构设计。主要工作如下:
(1)在MQ4040门座起重机的总体设计中,首先对起重机进行了大体设计。随后对货物水平位移补偿系统和臂架自重平衡系统进行设计及校核。最后,对起重机设计的相关载荷进行计算,并对轮压、抗倾覆稳定性校核和抗风防滑安全性进行验算。
(2)在回转机构设计中,首先对回转机构布置进行选择,随后进行回转支承装置及回转驱动的设计计算。最后使用Atuocad软件进行相关工程图纸的绘制。
(3)在三维建模中,使用SolidWorks软件对回转机构各个零件进行三维建模。然后将所有零件模型进行装配,组成回转机构。经过分析,模型无干涉,可进行下一步的Adams运动学仿真。
(4)在Adams运动学仿真中,将所建的三维模型导入Adams软件,通过对零件添加合适的约束和驱动,完成动力学仿真。最后输出仿真结果,经分析,仿真结果符合设计要求。
关键词:门座起重机;回转机构;总体设计;建模仿真
Abstract
In recent years, with the rapid development of the logistics industry, the port industry has also grown. Portal cranes are widely used in ports as a highly efficient lifting and transporting machine. The slewing mechanism is one of the main working mechanisms of the portal crane. Slewing mechanism has a decisive influence on the overall performance of the crane. Therefore, it is of great practical significance to further explore the design of the portal crane slewing mechanism.
This article designed the MQ4040 single-arm portal crane as the research object, using SolidWorks and Adams software for its overall design and rotary mechanism design. The main work is as follows:
(1) In the overall design of the MQ4040 portal crane, the general design of the crane was first performed. Subsequently, the horizontal displacement compensation system and the boom self-balancing system were designed and checked. Finally, the relevant load of the crane design is calculated, and the wheel pressure, anti-overturning stability check, and anti-skid safety are checked.
(2) In the design of the slewing mechanism, the slewing mechanism arrangement is first selected, and then the slewing bearing device and the slewing drive are calculated and calculated. Finally use Atuocad software to draw related engineering drawings.
(3) In the three-dimensional modeling, SolidWorks software is used to perform three-dimensional modeling of various parts of the slewing mechanism. Then all the part models are assembled to form a slewing mechanism. After analysis, the model has no interference and can perform the next Adams kinematics simulation.
(4) In the Adams kinematics simulation, the built 3D model was imported into Adams software, and dynamic simulation was completed by adding appropriate constraints and drivers to the parts. Finally, the simulation results are output. After analysis, the simulation results meet the design requirements.
Keywords: Portal crane; Slewing mechanism; Overall design; Modeling and Simulation
目 录
第1章 绪论 1
1.1 课题的研究目的和意义 1
1.2 国内外的研究现状分析 1
1.3 课题的研究内容 3
1.4 设计技术方案 3
第2章 MQ404门座起重机总体设计 4
2.1 设计参数 4
2.2 水平位移补偿系统及臂架自重平衡系统校核 5
2.2.1 水平位移补偿系统校核 5
2.2.2 臂架自重平衡系统校核 6
2.3 载荷的计算 7
2.3.1 自重载荷 7
2.3.2 风载荷 9
2.3.3 碰撞载荷 11
2.4 轮压的计算 12
2.5 整机抗倾覆稳定性计算 14
2.5.1 无风静载工况 14
2.5.2 有风动载工况 14
2.5.3 突然卸载或吊具脱落工况 15
2.5.4 非工作状态暴风侵袭工况 15
2.6 抗风防滑安全性 16
2.6.1 正常工作状态抗风防滑安全性计算 16
2.6.2 非工作状态抗风防滑安全性计算 16
第3章 起重机回转机构设计 18
3.1 回转机构简介 18
3.2 回转支承装置设计 18
3.2.1 回转支承装置简介 18
3.2.2 回转支承计算载荷 19
3.2.3 回转支承选型 21
3.3 回转驱动装置设计 21
3.3.1 回转驱动装置简介 21
3.3.2 回转驱动装置计算载荷 21
3.3.3 电机的选型及校核 22
3.3.4 减速器选型 23
3.3.5 极限力矩联轴器选型 24
3.3.6 制动器选型 24
第4章 回转机构建模与仿真 25
4.1 回转机构SolidWorks三维建模 25
4.2 回转机构的ADAMS运动学仿真 28
第5章 环境影响及经济性分析 31
5.1 环境影响分析 31
5.2 经济性分析 31
第6章 总结与展望 32
6.1 全文总结 32
6.2 不足与展望 32
参考文献 33
致谢 34
第1章 绪论
1.1 课题的研究目的和意义
随着经济全球化的发展,港口物流行业也随之发展。在港口,门座式起重机作为一种十分高效的起重运输机械而受到欢迎,随着港口吞吐量的日益增加,对门座式起重机装卸货物的效率、使用的安全可靠性、使用寿命等工作性能提出了更高的要求。对门座式起重机的研究设计,一直以来是国内外港口起重机械中的热点。单臂架门座起重机拥有灵活机动、作业效率高等优点。而作为门座起重机的主要工作机构之一的回转机构,其主要的作用是实现货物在空间中的水平移动,而回转机构性能的优劣能够极大地影响到起重机的生产效率、安全性等。
本次毕业设计以MQ4040单臂架门座起重机为研究对象,完成其总体设计、回转机构设计计算及三维仿真建模。回转机构是门座起重机中非常重要的一个部分,通过回转机构的设计,可以综合运用本科阶段所学的机械原理、机械设计等相关专业知识,完成理论到实践的飞跃。在设计过程中,能够学习各类建模、仿真软件。且此次毕业设计是对各方面能力的一个综合运用,在此过程中,亦可以发现其中的不足之处,方便以后针对性地改进。于港口行业乃至国家工业的角度出发,门座起重机的设计能大幅度地提高港口的生产效率,亦能体现一个国家的现代化工业水平。通过本次设计,不仅是对如今起重机行业现状的一个了解,对于起重机行业未来的发展更有着深远的意义。
1.2 国内外的研究现状分析
随着经济全球化的进行以及我国对外贸易活动的快速发展,我国港口产业日益发展壮大,成为贸易全球化的一个重要的支柱。而起重机作为港口最重要的机械之一,也因此得到不断的完善与发展。
国内外对于门座式起重机研究的方向可大致归为几类:
(1)起重机的大型化和专业化:随着物流产业的发展壮大,港口生产效率的提高迫在眉睫,而起重机的大型化和专业化是一个重要的研究方向;
(2)起重机的优化:为减少企业生产成本,通过各类建模仿真软件对起重机械的结构进行优化,使其自重下降而效率不变,从而成本降低;
(3)起重机的自动化和智能化:通过现代的电子科技(如PLC控制等)与起重机机械设计相结合,在生产上实现更高的自动化,从而提升工作性能。
而在近十年中,起重机事业在国内有了长足的发展,国内许多研究者对起重机设计及优化方面做出了贡献,中南大学皱宁波[1]基于MATALB软件和C 设计了一款可以用于臂架系统优化的软件。上海交通大学的刘剑波[2]基于MATLAB软件设计了一种卷筒补偿变幅系统,并通过对比优化结果,证明了设计的可行性。华南理工大学张勇[3]以起重机的PLC控制系统和变频调速系统为研究对象,对其进行优化设计并经实际改造检验,优化了起重机的电气系统,提升了装卸效率。武汉理工大学苏艳[4]以门座起重机的变幅齿条、齿轮为研究对象,通过相关受力分析给出了针对的优化建议。广州特种机电设备检测研究院刘金,黄国健,王新华,陈敏和彭启凤[5]研发出一套参数化仿真分析系统,比传统仿真方法节约了80%的时间。浙江大学赵琼,童水光,钟威和葛俊旭[6]以四连杆门座起重机变幅机构为研究对象,基于遗传算法和有限元分析提出一种优化设计方法。武汉理工大学胡吉全,广东中艺重工有限公司李水莲[7]设计了一种新型单臂架多用途门座起重机,可适应各类货物的高效装卸作业。
在起重机分析、建模、仿真系统设计方面,中交第二航务工程勘察设计院有限公司袁宗喜,武汉理工大学计三有,郭锐[8]以门座起重机的圆筒门架为对象,基于APDL语言进行了圆筒门架的有限元参数化设计,实现了圆筒门架的快速建模和分析。武汉市特种设备监督检验所邵扬[9]以门座起重机为研究对象, 基于软件ANSYS对起重机的各结构进行建模分析,解决了部分关于ANSYS中建模、约束和载荷添加的问题。武汉理工大学全晓亮[10] 以门座起重机为研究对象,基于Solidworks,设计了一套可用于门座起重机的设计计算以及重要部件的ANSYS分析的模型数字化平台。武汉理工大学钟茗秋[11]选取门座起重机臂架结构作为研究对象,基于CAE技术提出了提高其疲劳强度以及监控和维修裂纹扩展的方法。
而本次设计重点在于门座起重机的回转机构,在这方面,武汉理工大学胡吉全[12]以起重机回转机构为研究对象,进行失效分析,作出回转支承设计选型的相关建议。太原科技大学左荣荣[13]以起重机回转机构为研究对象,基于Visual C 和Access软件,开发出 “起重机回转机构安全评价系统”。武汉理工大学吴邵强[14]以门座起重机重的三排滚柱式回转支承为研究对象,通过有限元分析计算,提出了一种对于回转支承疲劳分析及其寿命预测的方法。长安大学杨璐,徐倩和杨兴菊[15]以汽车起重机回转系统为研究对象,进行了AMESim仿真模型和相关分析计算,提出了改善回转系统性能的建议。广西大学颜瑞[16]以门座式起重机回转机构为研究对象,建立一个解析动力学模型,该模型可反应回转机构系统的动态性能,并进行相关仿真及优化分析,提高了回转机构动态性能。武汉理工大学郭云飞[17]以MQ4040门座起重机回转支承为研究对象,基于软件ANSYS进行分析,给出了关于回转支承的法兰及过渡圆筒的厚度设计的建议。
国外对于起重机及相关方面也有许多研究,莫纳什大学Yihai Fang,佐治亚理工学院Yong K. Cho和Frank Durso,汉阳大学Jongwon Seo[18]通过动态工作空间的实时运动传感和三维建模,为操作员辅助系统提供了一个新的框架和实用的系统架构,提出了一种评估操作员安全管理体系的方法。以色列海法理工学院Gabriel Raviv,Barak Fishbain,Aviad Shapira[19]以塔式起重机的相关事故为研究对象,对事故进行定性分析,对事故数据库进行定量分析,结果表明技术故障是塔机领域内风险最大的因素。南乌拉尔州立大学V.F.Saburov,V.V. Ankudinov[20]通过对在局部扭矩作用下起重机轨道与起重机跑道梁上部区域相结合理论的分析和计算,获得可用于了分析起重机轨道和起重机跑道梁腹板上部区域的应力应变状态的轨道转角和梁腹板的表达式以及全扭矩的表达式。
1.3 课题的研究内容
本文设计以MQ4040单臂架门座式起重机为研究对象,完成整体设计计算和回转机构的设计计算及其三维建模仿真。首先设计要求,进行门座起重机的总体设计,随之完成其回转支承装置和回转驱动装置的设计计算,最后根据选型进行三维建模和动力学仿真。
以上是毕业论文大纲或资料介绍,该课题完整毕业论文、开题报告、任务书、程序设计、图纸设计等资料请添加微信获取,微信号:bysjorg。
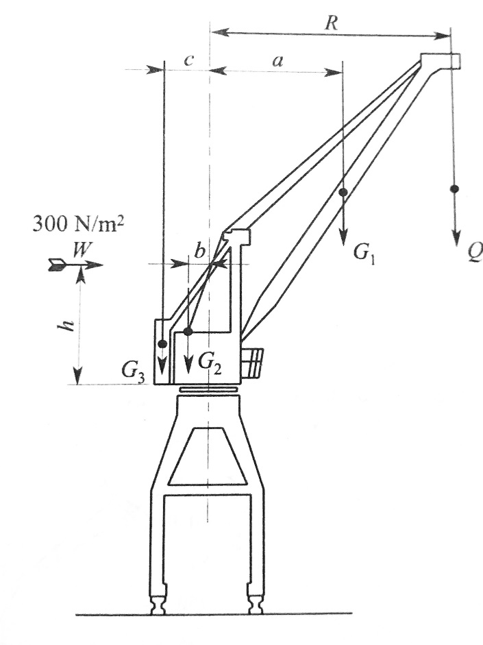
相关图片展示:







课题毕业论文、开题报告、任务书、外文翻译、程序设计、图纸设计等资料可联系客服协助查找。
