相干光通信接收系统研究及关键算法的Matlab实现毕业论文
2020-04-12 08:49:22
摘 要
相干通信由于相干系统灵敏度高,中继传输距离远;系统选择性能优良,通信信道容量较大;选择性的弥补和提高可以由电子学中的均衡技术来实现等优点成为当今通信领域瞩目的焦点。但相干通信领域中的关键技术仍然是相干通信系统接收端中的关键技术,这也是相干通信领域最为关键的部分。
本文从2ASK、2FSK、2PSK等三种外光调制解调技术出发,目的在于深入研究相干光接收端中的关键算法。其中着重对三种键控方式接收端中的解调原理进行了深入的分析,并对调制和解调的过程进行了详细的设计。在使用MATLAB中的m文件编写了相应代码,对所涉及的系统进行了MATLAB与simulink仿真。M文件仿真结果即为这三种调制解调过程中各环节时域和频域的波形,通过分析不同时间点的波形和频谱可以得到所设计系统的性能参数。
仿真结果显示2ASK、2FSK、2PSK三种调制解调系统最后都能还原出基带信号,但2FSK的基带信号波形略有失真,可能原因为信号经过低通滤波器后会产生时延,在解调输出端加入相对应的延时模块即可解决此种问题。
关键词:相干通信;PSK;外光调制;相干检测;MATLAB
Abstract
Because of the high sensitivity of coherent system and long transmission distance, the system has excellent performance and the capacity of communication channel is large. The advantages of the electronic communication can be realized by the equalization technology in electronics. However, the key technology in coherent communication is still the key technology in the receiver of coherent communication system, which is also the most critical part of coherent communication.
This paper starts from three kinds of external optical modulation and demodulation technologies, such as 2ASK, 2FSK and 2PSK. The purpose is to deeply study the key algorithms in coherent optical receiver. The demodulation principle of the three keying modes in the receiver is analyzed, and the process of modulation and demodulation is designed in detail. The corresponding code is written in the m file in MATLAB, and the system involved is simulated. Through simulation, the waveform of the time domain and frequency domain of each link in the three modulation and demodulation processes is analyzed, and the performance parameters of the designed system are obtained.
The simulation results show that the three modulation and demodulation systems of 2ASK, 2FSK and 2PSK can finally restore the baseband signal, but the baseband signal of 2FSK has a slight distortion. It may cause the delay when the signal passes through the low pass filter, and the corresponding delay module can be solved by adding the corresponding delay module at the demodulation output.
Key Words:coherent communication; PSK; external optical modulation; coherent detection; MATLAB
目 录
摘 要 I
Abstract II
目 录 3
第1章 绪论 5
1.1 引言 5
1.2 相干光通信系统的研究进展和现状 5
1.2.1 相干光通信系统研究现状 5
1.2.2 相干光通信系统中的关键技术 6
1.3 本文主要研究内容 7
第2章 相干光通信系统的结构和原理及相干检测机理 9
2.1 相干光通信系统简介 9
2.1.1 相干光通信系统结构组成 9
2.1.2 相干通信原理 9
2.2 相干光接收机的构成及工作原理 10
2.3 相干检测原理 12
2.4 误码率和信噪比 13
2.5 本章小结 13
第3章 相干光通信系统中外光调制解调技术原理及MATLAB仿真 15
3.1 外光调制技术原理 15
3.1.1 2ASK的基本原理和调制解调过程 16
3.1.2 2FSK的基本原理与调制解调过程 17
3.1.3 2PSK的基本原理和调制解调过程 19
3.2 几种外光调制技术的MATLAB仿真 21
3.2.1 基于MATLAB的2ASK解调关键算法与仿真 21
3.2.2 基于MATLAB的2FSK解调关键算法与仿真 22
3.2.3 基于MATLAB的2PSK解调关键算法与仿真 28
3.2.4 三种调制方式间ASK、FSK、PSK间误码率比较 29
3.3 本章总结 30
第4章 总结与展望 31
4.1 总结 31
4.2 展望 32
参考文献 33
致 谢 34
绪论
引言
近年来使用最为广泛的光纤通信系统基本上都是采用非相干解调方试。目前多是采用光强调制-直接检测(IM-DD)方式。随着相干通信的不断发展,相干光通信系统可以获取更多的信号并使高阶调制和偏振复用成为可能。
相干检测可以对传输过程中的光波的幅度、频率或相位进行调制,这便是相干检测与非相干检测方法相比较的最为明显的优点。在对模拟信号的调制领域中,这三种调制方式为幅度调制(AM)、频率调制(FM)、相位调制(PM)。对于数字信号来说ASK、FSK、PSK调制技术便是分别对应幅度频率和相位的调制技术。这同样作为外光调制技术应用于相干光通信发射端与接收端中,研究这三种调制技术对于了解相干光接收原理有着非常大的帮助。
相干光通信系统的研究进展和现状
相干光通信系统研究现状
早在上世纪八十年代相干光通信理论领域就已经涌现出一些卓越的研究成果。ATamp;T以及BELL公司早在1989年在美国宾夕法尼亚州的罗灵·克里克地面站与森伯里枢纽站曾先后进行了1.3μm和1.55μm波长的1.7-Gbit/s频移键控(PSK)现场试验[1]。相距35公里的光接收机采用偏振分集接收的无中继相干传输试验可以说是相干通信的一座里程碑。1990年日本的NTT公司在獭户内海进行了传输距离总长达431公里的2.5-Gbit/s频移键控(PSK)相干传输试验。在研究成果不断进步的上世纪八十年代,相干通信曾一度成为光纤通信乃至整个通信领域的焦点和重心。
近几十年来,相干光通信技术发展迅速,在长距离传输[2]、信道选择性和灵敏度这几方面都取得了卓越的研究成果,并且与之相关的操作软件的开发也随之兴起,集成系统的开发也在有条不紊地进行。强度调制直接检测技术由于其成本低易实现的特点已经成为现如今使用最为广泛的光纤传输系统。这一非相干传输系统由于其没有利用光载波的相位、频率、振幅等信息,性能和效率受到了影响和限制,一定程度上也决定了它最后发展的方向。与非相干通信系统不同的是,相干光通信系统[3]将光源选择为单一频率的相干光,这样使用功率较大的本振将利于接收端信号的解调,提供大信号传输增益便于我们对接收到的光载波信号的检测。相干接收系统选择性的弥补和提高可以由电子学中的均衡技术来实现[4]。密集波分复用技术(DWDM)可以提高系统的频带利用率和效率。高阶调制格式例如正交相移键控(QPSK)等等一系列新进的调制格式在相干光通信中成为可能并在逐步实现,不仅使得系统的传输速率大大提高还促进了新技术突破瓶颈不断涌现。相干通信随着数字信号处理技术(DSP)逐步应用于光纤通信系统中又再次崛起。同样伴随着大规模集成电路(VLSI)的发展[5],数字信号处理芯片正在快速发展,并将有更为简单有效的载波相位评估方法可供使用。沿用传统无线电技术中早已实现的相干通信方式,配合ASK、PSK、FSK等不同的调制方式实现了新型光纤通信方式,即外差光纤通信系统。掺铒光纤放大器(EDFA)和波分复用(WDM)的技术进步促使上世纪九十年代光纤通信系统的容量扩大了近1000倍,这对光纤通信具有重大意义,具有很大的研究价值。
相干光通信系统中的关键技术
数字信号处理技术快速发展,现如今的AD、DA转换技术日新月。相干光通信技术成为通信领域的研究热点。而为了确保相干光通信的准确性,设计有效性强可靠性高的相干光通信系统,以下几种关键技术不可或缺:
- 光源技术:相干光通信不同于IM/DD的通信方式,对于信号光源要求苛刻,对于本振光源要求也很严格,具体表现在它要求光谱线宽度不能过长并且频率的稳定性好。较小的光源谱线宽度越能决定系统所能达到的最小误码率。半导体激光器的频率对工作温度变化十分敏感,因此要注意控制温度从而保持频率稳定。
- 接收技术:接收技术与得到中频信号后的各种不同制式的解调技术一一对应。
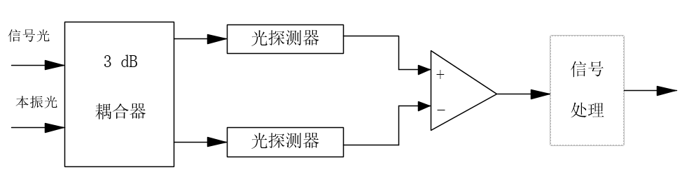
常用的接收端关键技术有两种,其一为平衡接收法,而另一种即为偏振控制法。
使用平衡接收法的优点在于可以大幅度减少调幅噪声。其原理可以简化为用耦合器将本振光和信号光同时分为两路,这两路不同的光信号分别输入两个相同的PIN光电检测器中。输出两路等幅且反相的信号将其合成,虽然调频信号的幅值将增加一倍,但在这个叠加的过程中,其中的直流分部将互相抵消,意味着直流噪声和调幅噪声将互相抵消,也就是我们常说的消除噪声的一种方法。当这两路光电流相减之后,显而易见的是总电流表达式中的两个直流部分作差运算后互相抵消变为零,如此以来取决于直流分量大小的强度噪声也将随之消除[6],不用担心的是交流部分与本振功率的二次方成正比,所以在进行根式运算后强度噪声影响将会减小很多。
而偏振控制技术则是利用了两路信号光偏振同偏可以取得最好的混频效果这一优点来提高接收质量。因为单模光纤中的所传递的信号在长时间传递后会有所波动,我们常常选择保偏光纤来维持其偏振态的稳定。不仅如此,偏振控制器应用于接收端可以控制本振光与基带光信号振动方向相同。偏振分集技术依靠分光模块将混和后的光信号分束两个方向正交的两束偏振光,如此一来传输中波动造成的起伏会削弱其中某一分量的幅值但由于方向互相垂直,第二路信号不会完全抵消掉,仍可保留下来。
- 外光调制技术:早期的光学研究发现一些具有电光效应的晶体结构在施加于不同的外界条件的情况下产生了不同的属性。而光信号在其中传递的性质也随着这些晶体属性的变化产生了周期性的差异。推测可得,部分具有声光效应的晶体亦为如此。基于上述原理所制成的调制器应用于外光调制研究中,都可以实现对光载波的频率、相位、振幅的调制。
- 频率稳定技术:要想保证本振光与接收光之前的频率相对稳定就要确保激光器的频率不随工作条件的不同发生改变。对于两种相干光检测系统来说都是一样,必须要确保了本振光与载波间的一致性,否则本振与载波间哪怕再小的出入都将导致中频输出的严重失真,所以两者频率的一致性直接决定这中频输出的准确性。为了解决频率不稳定的因素,相干通信中常常选择将频率固定到一种特定的原子或分子结构的固有频率上,由于固定频率的方法易于实现,所以广泛应用于半导体激光器的频率稳定技术中。还可以选择利用光照半导体产生电动势的光生伏特效应来实现载波频率与本振频率趋同;也可以选择可以锁定相位的环路来实现外部输入信号频率和相位的稳定;在高阶调制格式中也可以选择在主激光器边带中插入锁定的窄带宽来进行线性调频操作从而维持两者频率的一致性和稳定性;除此之外还可以利用半导体激光器工作温度一定的方法以及注入电流的控制的自动化处理方式等方法来确保频率稳定性。
- 频谱压缩技术:如同前面所提到的光源技术,不同的带宽产生的噪声总不同,故减小带宽可以使得产生的相位噪声降低。光载波选择为较为窄的带宽,半导体激光器调幅噪声自然而然可以降低。相比于调幅噪声,量子调幅同样适用于减小带宽压缩频谱的特点。目前应用最为广泛的主要有两种频谱压缩技术:方法之一为注入锁模法。此种方法选择单模工作模式的激光器,将稳定的频率与窄带宽的光信号注入目的减小宽度从激光器,来达到使主从激光器保持相同的稳定频率与窄带宽的目的。第二种频谱压缩方法利用外腔的选模特性。外腔反馈法的主要思路是光的反射,激光器中的光载波通过外置反射镜和特制用于色散功能的光栅元件反射回外腔内,并用随时间变化的单模以及外腔本身来压缩带宽。
- 非线性串扰控制技术:密集频分复用技术广泛应用于相干光通信中,所以非线性效应中难免会出现复用频率互相干扰的状况。相干光通信中的一些信号通道中所传递的光信号振幅和相位受到其他的复用同一频率的信号通道的信号的干扰,这就是非线性串扰。
可以选用傅里叶变换光脉冲技术来控制非线性串扰。
本文主要研究内容
本文的主要研究内容是相干光通信系统中接收端的关键算法分析和研究。在相干光通信系统中我们时常会选择不同的调制方式来针对不同的问题,具体问题具体分析,不同的调制方式有点不同。多种调制方式我们可以选择其多种制式的外光调制方试进行研究。在直接检测系统中,仅仅采取强度调制方法对本振光进行调制。与之不同的是在相干光通信中,不仅可以对本振光进行幅度调制,还可以选择频率或者相位方面上的调制。同样可以选用高阶调制格式来进行调制,如: DPSK、CPFSK、QPSK等等[7]。相干光接收机在处理不同调制型式时就显得尤为关键,研究其中接收端的关键算法例如低通滤波器,带通滤波器,抽样判决器等模块的算法,才有助于透彻理解相干光通信系统中的每个部分[8]。
以上是毕业论文大纲或资料介绍,该课题完整毕业论文、开题报告、任务书、程序设计、图纸设计等资料请添加微信获取,微信号:bysjorg。
相关图片展示:







课题毕业论文、开题报告、任务书、外文翻译、程序设计、图纸设计等资料可联系客服协助查找。
