江苏省泰州市某办公楼设计(方案三)毕业论文
2020-04-18 20:05:16
摘 要
本毕业设计题目为实际工程应用课题,位于江苏省泰州市,房屋总高20.05米,共5层,层高为3.9m。结构体系为框架结构体系,由于施工周期较短,楼板和屋面板采用压型钢板混凝土组合楼盖,本工程中所有的。
本工程抗震度,设计基本地震加速,设计地震分组为第一组。工程场土层,属于Ⅰ地土。
关键词:框架结构 内力计算 截面设计
Abstract
The graduation project is a practical engineering application subject, located in Taizhou, Jiangsu province..The total housing height is 20.05 meters, with the total of 5 layers. The height of each floor is 3.9 meters. The structural system is a frame structure system. Due to the short construction period, the floor slab and roof slab are made of compacted steel plate concrete composite floor slab. All the beams and columns in this project are cast in situ.
The seismic fortification intensity 7 degrees, the design of the basic seismic acceleration value of 0.10g, the design of the earthquake group for the first group. Engineering liquefaction soil, belongs to classⅠsoil.
Keywords: Frame structure The internal force calculation The cross section design
目 录
摘 要 I
Abstract II
第一章 设计资料 1
1.1工程地点及工程概况 1
1.2气象资料 1
1.3工程地质资料 1
1.4施工技术条件 1
1.5材料供应 2
1.6荷载取值 2
第二章 设计简图 3
2.1计算简图 3
2.2材料强度等级 3
2.3框架柱截面尺寸初选 3
2.4框架梁截面尺寸初选 4
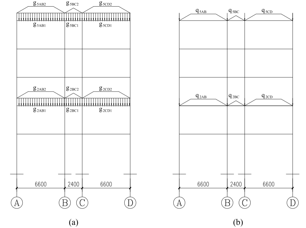
2.5荷载计算 5
2.5.1屋面横梁竖向线荷载标准值 5
2.5.2楼面横梁竖向线荷载标准值 6
2.5.3屋面框架节点集中荷载标准值 7
2.5.4楼面框架节点集中荷载标准值 8
2.5.5风荷载 9
2.5.6地震作用 10
第三章 内力计算 15
3.1恒载作用下的框架内力 15
3.1.1弯矩分配系数 15
3.1.2杆件固端弯矩 16
3.1.3节点不平衡弯矩 18
3.1.4内力计算 18
3.2活荷载作用下的框架内力 22
3.2.1梁固端弯矩 22
3.2.2纵梁偏心引起柱端附加弯矩 22
3.2.3最不利组合 23
3.2.4各节点不平衡弯矩 24
3.2.5内力计算 24
3.3风荷载作用下内力计算 38
3.4地震作用下横向框架的内力计算 41
3.4.10.5(雪 活)重力荷载作用下横向框架的内力计算 41
3.4.2地震作用下横向框架内力计算 46
第四章 框架内力组合 49
4.1弯矩调幅 49
4.2荷载组合 50
第五章 框架梁柱截面设计 60
第六章 楼梯结构设计 71
6.1梯段板计算 71
6.1.1荷载计算 71
6.1.2内力计算 72
6.1.3配筋计算 72
6.2休息平台板计算 72
6.2.1荷载计算 72
6.2.2内力计算 73
6.2.3配筋计算 73
6.3梯段梁TL1计算 73
6.3.1荷载计算 73
6.3.2内力计算 73
6.3.3配筋计算 73
第七章 楼面板设计 75
7.1楼面组合楼板设计 75
7.2屋面组合楼板设计 81
第八章 基础设计 87
8.1 荷载计算 87
8.2 确定基础底面积 88
8.3基础结构设计 91
参考文献 95
大学期间研究成果 96
致谢 97
第一章 设计资料
1.1工程地点及工程概况
本毕业设计题目为实际工程应用课题。本工程位于江苏省泰州市,为办公楼。实际工程的建筑层数为五层,建筑平面长宽约50.90m×16.10m,建筑高度约20.5m。结构形式为构。建筑结构安全等级为二级,设计使用年限为50年;建筑场地类别为Ⅰ类,地基基础级;建筑抗震设防类类(即丙类),抗震设防烈度为震加速度为0.10g),地震分组为等级为三级。底层平面柱网见图。
1.2气象资料
(1) 基本风压值:W0=0.35kN/m2
(2) 基本雪压值:S0=0.40kN/m2
1.3工程地质资料
(1) 经勘察查明,根据地层的沉积特点和物理力上而下共可划分为3层,各土层如下:
①层:,灰褐色,主要成粘土。该层土场地普遍分布,约0.5m厚。
②层:粉质黄色。该层土场地,约5.2m厚。
③层:粉质黄色,坚硬。该层土钻探未钻穿。
(2) 基础型式及柱下独立基础;基础持力层位粘土,地基值 fak=270KPa。
(3) 本工程地下水埋深为10米左右,地下水对钢筋混凝土结构不具侵蚀性。
(4) 建筑场地类别:Ⅰ类。
1.4施工技术条件
本工程由大型建筑工程公司承建,设备齐全,技术良好。水、电供应由建设单位保证。
1.5材料供应
三材及一般材料能按计划及时供应。
1.6荷载取值
(1)办公楼楼面活荷载,查《建筑结构荷载规范 》GB50009-2012,确定办公室、会议室楼面活荷载标准值为2.0kN/m2,办公楼走廊、门厅楼面活荷载标准值为2.5kN/m2,楼梯楼面活荷载为3.5kN/m2,卫生间楼面活荷载为2.5kN/m2。
(2)不上人屋载标准值为0.5kN/m2。
以上是毕业论文大纲或资料介绍,该课题完整毕业论文、开题报告、任务书、程序设计、图纸设计等资料请添加微信获取,微信号:bysjorg。
相关图片展示:







课题毕业论文、开题报告、任务书、外文翻译、程序设计、图纸设计等资料可联系客服协助查找。
